Sleep is a fundamental part of our well-being, yet millions struggle to get a restful night. Traditional sleep aids such as melatonin gummies, herbal teas, and prescription medications have limitations: short half-lives, digestive irritation, inconsistent absorption, and one-size-fits-all dosing. This is where sleep patches come in offering a novel, scientifically grounded approach to improving sleep.
Sleep patches present an innovative solution to these challenges, combining advancements in transdermal delivery, adhesive science, and AI-based personalization to offer a steady, targeted effect without relying on digestion or static dosing schedules. These patches deliver a more tailored experience that is steadily gaining traction in the wellness industry, providing a compelling intersection of scientific validation and market readiness.
Why Oral Sleep Aids Fail the Innovation Test
Challenges and Limitations of Traditional Sleep Aids:
- Short Half-life: Melatonin pills wear off in 40–60 minutes.
- First-Pass Metabolism: Active compounds like CBD are degraded by the liver, reducing effectiveness.
- Gastrointestinal Irritation: Herbal teas or capsules can upset the stomach.
- Inconsistent Absorption: Oral CBD and melatonin show variable uptake across individuals.
- Uniform Dosing: Standard pills ignore variations in metabolism and sleep cycles, leading to inconsistent results.
Transdermal systems, such as sleep patches, bypass these challenges by using the skin as a direct route for controlled release and targeted delivery. This method not only ensures more consistent absorption but also offers the flexibility to deliver therapeutic effects tailored to individual needs.
Fill out the form to get started with Slate.
Transdermal Innovation: The Rise of Sleep Patches
Sleep patches represent a multi-patent, cross-disciplinary innovation that addresses these longstanding issues. By utilizing transdermal delivery systems, adhesive technologies, and smart, AI-powered personalization, these patches offer a solution that oral sleep aids cannot match. They allow for sustained release over hours, ensuring consistent delivery of the active ingredients while avoiding the gastrointestinal issues common with pills or drinks.
A key benefit of sleep patches is their advanced adhesive science, which ensures they stay securely in place through various activities like sweating or showering, a challenge for earlier iterations of skin-based patches. This level of reliability is critical for maintaining consistent sleep aid delivery throughout the night.
IP Landscape: How Sleep Patch Patents Solve Core R&D Problems
The sleep patch market is evolving rapidly, and key patents are shaping its future. Here’s a breakdown of the critical patents that are driving innovation and solving core R&D challenges:
| Problem | Patented Innovative Solution | Patent Number | Company | Impact of the Patents |
| Melatonin pills wear off too quickly | Three-layer transdermal patch with absorption enhancers | CN105232497A | Jiaxing Xinwen Biotechnology Co Ltd | Extends melatonin effect to 6–10 hours |
| Herbal teas irritate the stomach | Lavender oil patch with controlled-release membrane | RU2695785C2 | LTS Lohmann Therapy Systems Ag | Delivers calming effect without GI distress |
| Oral CBD has poor bioavailability | Microporous CBD reservoir patch | US20170071870A1 | Life Tech Global Llc | Remy Biosciences Inc | Increases effectiveness by bypassing digestion |
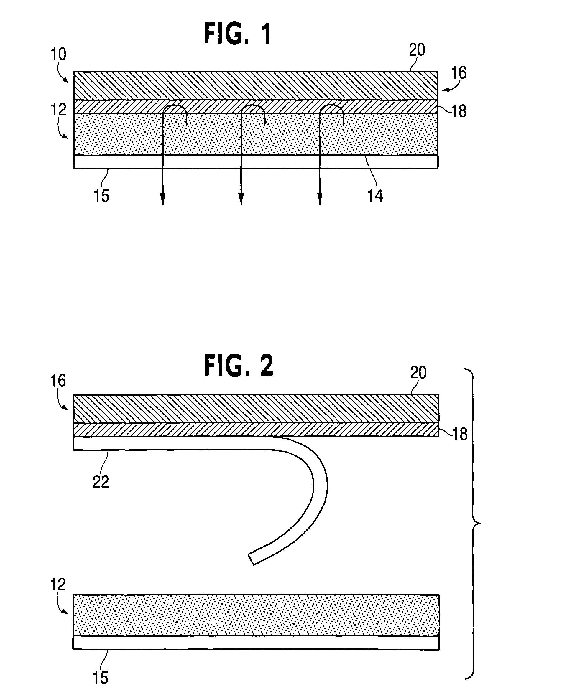
| Patches detach easily under sweat or showering | Advanced water-resistant polymer adhesive | US9101605B2 | US8628795B2 | LTS Lohmann Therapy Systems Ag | Ensures stable skin adhesion |
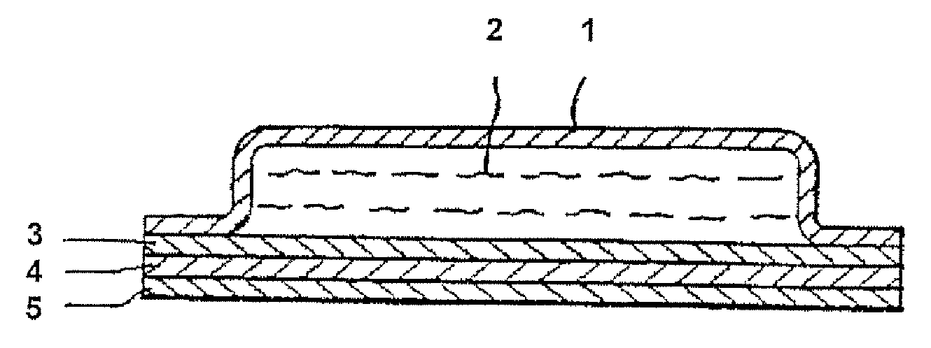
| Static dosing models ignore biological rhythms | Smart patches with AI sensors that adjust release | EP4520384A2 | US11642490B2 | WO2019148039A1 | Circadian Positioning Systems Inc | Enables personalized, dynamic melatonin therapy |
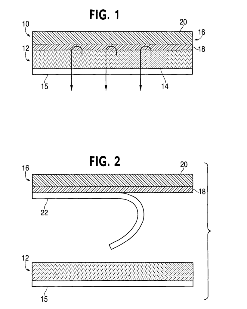
| Drug evaporation & uneven dispersion | Multi-layer patch to prevent loss and enhance consistency | US8703175B2 | Noven Pharmaceuticals Inc | Ensures reliable delivery for scale-up manufacturing |
Curious About How the Latest Patents Are Powering the Future of Sleep Patches?
Get your hands on a complete list of these groundbreaking patents, the problems they solve, and the solutions they offer.
Patent Innovations in Transdermal and Sleep-Enhancing Patches
1. US20170071870A1 – Transdermal Delivery of Cannabidiol
CBD is well known for its potential benefits, but when consumed orally, most of it is lost during digestion. This patent introduces a transdermal reservoir patch designed to deliver CBD and potentially other compounds like Vitamin B12 directly through the skin. Using a microporous, hydrophilic membrane and specialized adhesives, the patch ensures better absorption and bioavailability. In simpler terms, it makes CBD more effective and consistent while also allowing combinations with other beneficial agents. For consumers, this represents a smarter, longer-lasting alternative to oils or capsules.
2. US9101605B2 – Buprenorphine Transdermal Systems
Both of these patents, from LTS Lohmann Therapy Systems AG, address one of the most practical challenges in drug patches: adhesion under real-life conditions. Standard patches often loosen or fall off when exposed to sweat, showering, or prolonged use. These patents describe a water-resistant therapeutic system with a reservoir containing active ingredients and an adhesive engineered to withstand such conditions. Beyond just sticking better, the patches also maintain steady drug release over long periods. For patients requiring continuous treatment, this innovation ensures reliability and comfort without constant reapplication.
3. EP4520384A2 – Patches for Sleep and Circadian Rhythm Alignment
This family of patents represents a leap forward: moving from simple drug delivery to intelligent, adaptive therapy. The inventions describe patches equipped to monitor sleep/wake patterns and circadian rhythms. Instead of releasing the same dose continuously, these patches can adjust delivery in real time, responding to the user’s biological state. The goal is to help align the body’s internal clock with the external environment improving sleep quality, easing jet lag, or managing shift-work fatigue. By combining sensors, controlled-release agents, and data-driven adjustments, these patches showcase how the next generation of wearables could merge health monitoring with therapeutic action.
4. US8703175B2 – Controlling Drug Loss in Transdermal Systems
Manufacturing patches isn’t just about the science of absorption; it’s also about keeping the active ingredients stable and evenly distributed. This patent solves the problem of drug evaporation and uneven dispersion during production. By using a multi-layer structure with special coatings on the backing or release liner the design prevents loss of active compounds while ensuring consistent skin adhesion. For patients, this means more reliable dosing. For manufacturers, it enables scalable, efficient production of high-quality patches, an essential step for making transdermal delivery mainstream.
Conclusion: Sleep Patches as the Future of Restorative Wellness
The evolution of sleep technology shows how science and innovation can converge to address long-standing health challenges. From enhancing CBD absorption and ensuring patch adhesion to enabling circadian rhythm synchronization and solving large-scale manufacturing hurdles, patents are shaping a new era of sleep solutions.
Sleep patches go beyond being just another wellness trend they represent a scientifically validated, IP-backed approach that solves real problems traditional sleep aids cannot. With companies across biotech, pharma, and digital health investing in transdermal innovation, the stage is set for sleep patches to become mainstream, offering personalized, reliable, and scalable solutions to millions who struggle with sleep worldwide.
Looking for deeper patent landscape insights in Sleep Patches or other wellness technologies? Submit your interest, and our team will reach out to explore a customized report for you!




