At CES 2025, amidst a showcase of next-gen wearables and AI-powered home assistants, one innovation stood out not by promising the future but by solving a common annoyance of the present. Swippitt, a UK-based startup, introduced its Instant Power System (IPS)—a device that swaps out dead smartphone batteries in just two seconds. Designed with working professionals, travelers, and high-usage smartphone owners in mind, this product offers a fresh alternative to power banks, cables, and fast-charging stations.

Swippitt’s concept is simple: instead of plugging in your phone and waiting for a recharge, you place your phone into the Swippitt Hub, which automatically ejects the depleted battery and replaces it with a fully charged one. Along with its proprietary phone case (Swippitt Link) and companion app, the system delivers uninterrupted power in a way that’s efficient, fast, and surprisingly effortless.
How Does Swippitt Keep Your Phone Charged Without the Wait?
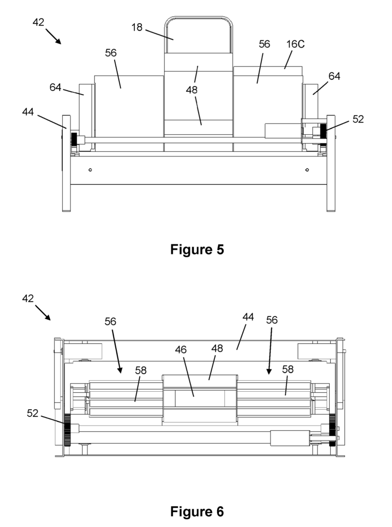
Instant Battery Swap: The Swippitt Hub is a small docking device, slightly larger than a toaster, that holds up to five rechargeable batteries. When a phone with a Swippitt Link case is inserted, the hub slides out the empty battery and swaps in a fully charged one—in about two seconds. There’s no need for cords, ports, or waiting.
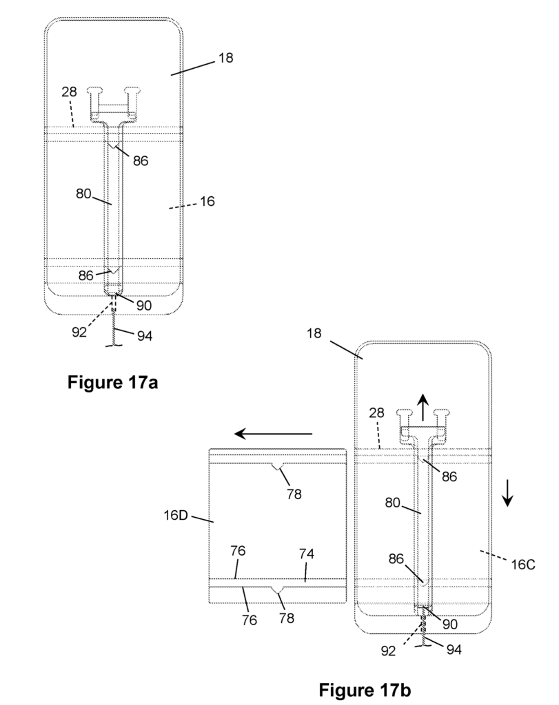
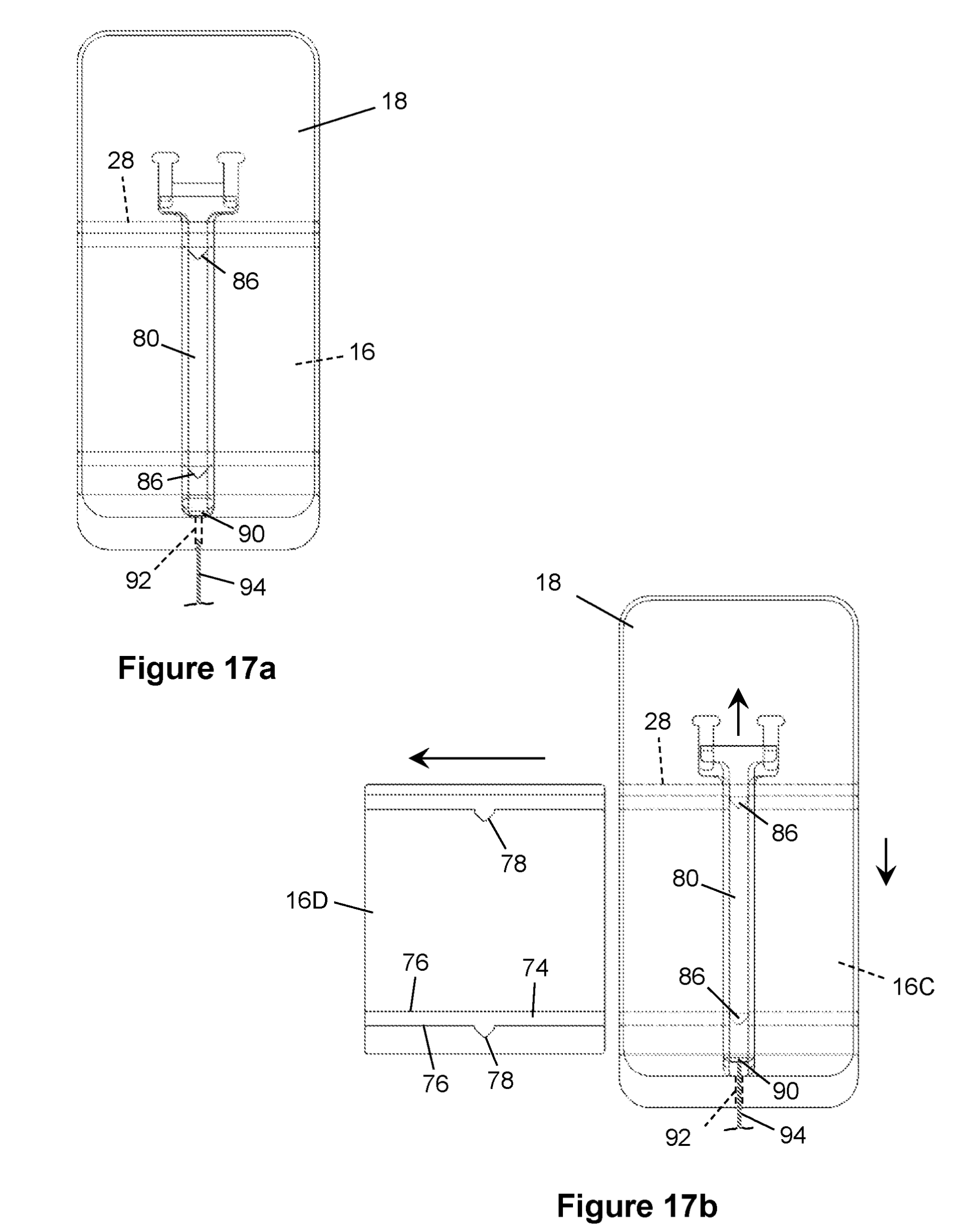
Swippitt Link Smart Case: This lightweight, magnetic case houses a 3,500mAh swappable battery that connects securely to both your smartphone and the hub. It ensures proper alignment for a clean handoff and keeps the phone running even during the swap.
Companion App: Through Bluetooth, the Swippitt app syncs with the case to let users monitor charge cycles, set upper charging limits to extend battery life, and receive real-time alerts. The app also includes optional privacy locks and battery health stats.
What Technology Powers Swippitt’s Swapping Mechanism?
Behind Swippitt’s elegant design is a patented mechanical and electronic assembly detailed in UK Patent Application GB2635355A.

The system is built around three key components:
- Rack-and-Pinion Alignment Mechanism: Instead of using manual slots or magnetic alignment, Swippitt employs a precision rack-and-pinion system. This helps guide the battery cassette smoothly into the phone case along a fixed track, reducing the risk of misalignment or wear-and-tear over time.
- RFID-Based Authentication: Each battery includes an embedded RFID chip, verified during the swap process. This prevents non-certified batteries from being charged or inserted, improving safety and ensuring only trusted components are used.
- Sensor-Controlled Charging: Inside the hub, sensors monitor temperature, voltage, and charge status. A smart control module determines the safest and fastest way to charge each inserted battery. The dual-channel logic board prevents overcharging and communicates with the user’s phone via the app.
The swap process is fully automated. When a phone is docked, an internal roller mechanism gently pushes the spent battery into its chamber and loads a fresh one. The app then confirms a successful swap, and the old battery begins recharging in the hub’s background slots. This approach protects the internal structure of the phone and avoids interrupting its power supply.

Who Else is Trying to Solve the Same Problem?
Anker (China/USA): A leading name in fast-charging adapters and power banks. While convenient, their products still rely on traditional plug-and-wait solutions.
Mophie (USA): Known for battery cases and wireless chargers, Mophie offers good portability but doesn’t offer battery rotation or real-time swapping.
Shargeek (China): Offers sleek, transparent power banks with visual appeal, but focuses more on design than functionality.
What separates Swippitt from these is not faster charging, but removing the concept of waiting altogether. Its integration of mechanical automation, app-driven battery intelligence, and physical safety measures makes it more than a charging tool.
Swippitt’s Instant Power System introduces a quiet but meaningful shift in how we manage mobile energy. By replacing the recharge cycle with an instant battery swap, it offers a simple, clean, and effective solution for anyone who needs their phone to keep up with them.
Curious about Instant Power System innovations? Fill out the form below to request a detailed patent report on this technology!
